...Shaun Torrente...Winning with Mercury...http://www.raceboatinternational.com.../st_splash.jpg
Printable View
...Shaun Torrente...Winning with Mercury...http://www.raceboatinternational.com.../st_splash.jpg
Attachment 352797Cool piece of history in to get a little work done.
...Wrap around cowling for an outboard motor patent - Elmer C. Kiekhaefer -https://patentimages.storage.googlea...S2756736-0.png
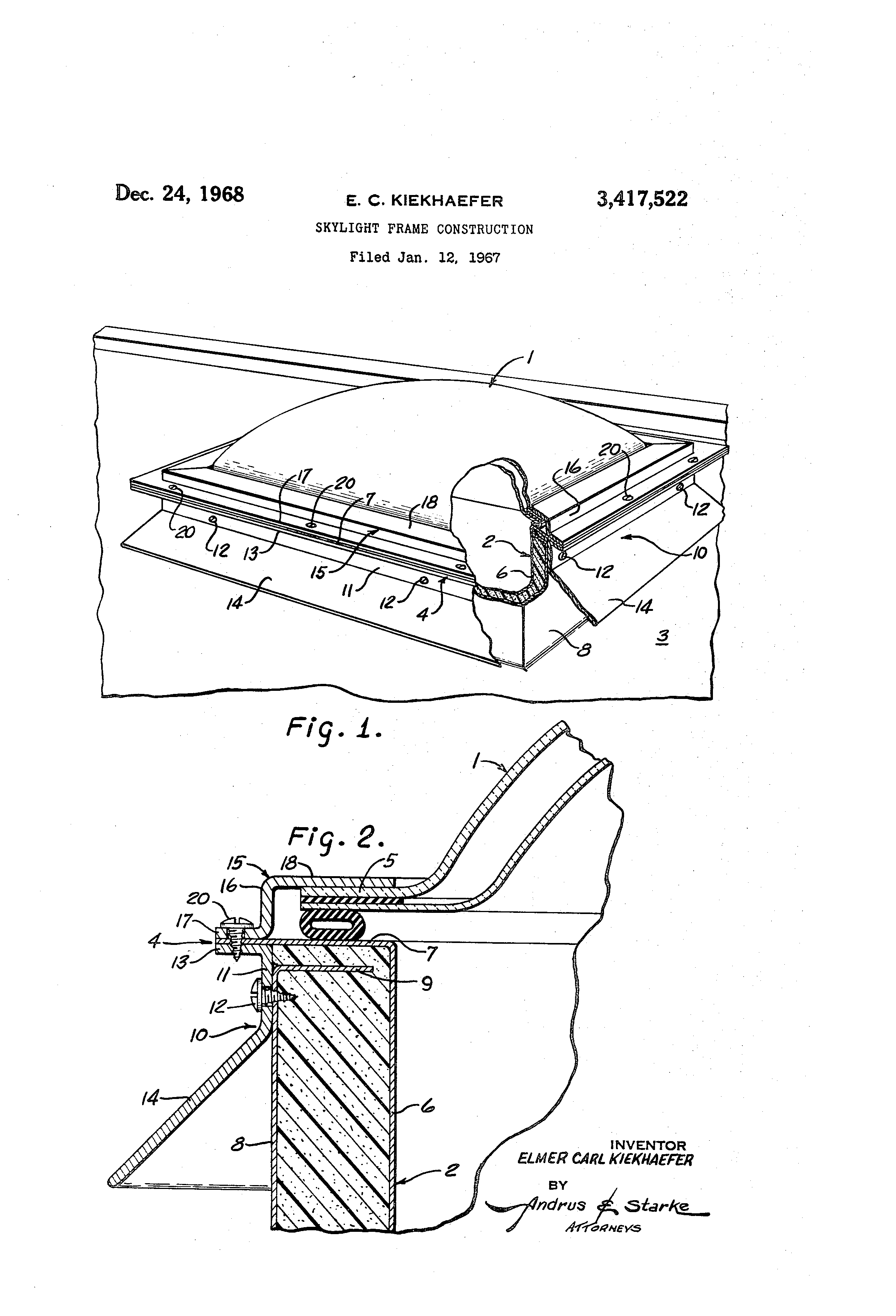
...1968 - Sky Light Frame Patent - Elmer Kiekhaefer -https://patentimages.storage.googlea...S3417522-0.png
...Outboard HydroPlaning Outboard Powered Boat Patent - Elmer Kiekaefer - 1954 - https://patentimages.storage.googlea...S2656814-0.png
...Skylight Dome Patent - 1967 -https://patentimages.storage.googlea...S3417527-0.png
...Outboard Motor Water Inlet Structure Patent - 1954 - Elmer Kiekhaefer -https://patentimages.storage.googlea...S2847967-0.png
...Air Cooled Engine & Air Intake Patent - 1956 - Elmer Kiekhaefer -https://patentimages.storage.googlea...S2747558-0.png
...Driveshaft Housing For Outboard Motors - 1948 - Elmer Kiekhaefer -https://patentimages.storage.googlea...S2442728-0.png
...Dual Pane SkyLight Patent - 1968 - Elmer Kiekhaefer -https://patentimages.storage.googlea...S3434251-0.png